美女免费高清在线观看电视剧_西西人体www大胆高清_8090新视觉理论电影电视剧免费观看_国产精品丝袜黑色高跟鞋

全國服務熱線021-64162222

蝶閥知識閥門首頁 > 閥門知識 > 蝶閥知識 >

d941X-16c電動蝶閥的型號意義及結構詳細圖解

[ 2024-04-15 ]

d941X-16c電動蝶閥的型號意義及結構詳細圖解
d代表蝶閥。

9代表驅動裝置是電動。

4代表閥門與管道的連接方式是法蘭連接。

數字1有兩種說法,第一種是閥門是中線的,那閥門就有可能是閥體內襯膠的軟密封蝶閥,第二種說法是垂直板式(閥門全關時,蝶板和通道垂直),那就有可能是兩偏心橡膠軟密封蝶閥( 但是中線蝶閥也是垂直板式喲,要注意一下),實際就是常說的42X蝶閥。

X代表密封副至少有一種是橡膠,也有可能是閥體內襯膠,也有可能是蝶板上的密封圈是橡膠。

16代表公稱壓力為PN16,也就是1.6兆帕,1.6Mpa。
d941X-16c電動蝶閥的型號意義及結構詳細圖解

電動法蘭式軟密封蝶閥由橡膠密封蝶閥和碳鋼或不銹鋼閥板、閥桿構成。適用于溫度120如輕紡、造紙、食品、醫藥、化工、石油、電力、等給排水、氣體管道上作調節流量和截流介質的作用。其主要特點為設計新穎、合理、結構獨特,重量輕,啟閉迅速。操力矩小,操作方便,省力靈巧。可以任何位置安裝,維修方便。密封件可以更換,密封性能可靠達到雙向密封零泄漏。密封材料耐老化、耐腐蝕,使用壽命長等特點。

一、工作原理:

電動執行器:法蘭軟密封電動蝶閥采用電動執行器作為驅動裝置,通過接收外部信號,控制閥門的開度。常見的電動執行器有電動蝸桿、電動氣缸等。

閥體與閥板:閥體是蝶閥的主要部件,由兩塊對稱的半圓形閥板組成。當電動執行器驅動閥板旋轉時,閥板與閥座之間的間隙大小會改變,從而影響流體通路的開閉程度。

二、組成結構:

閥體:一般采用鑄鐵或不銹鋼材質制成,具有良好的耐腐蝕性和密封性能。

閥板:通常采用不銹鋼材質制成,具有較好的耐磨性和耐腐蝕性。

密封裝置:法蘭軟密封電動蝶閥采用軟密封結構,主要包括密封圈、填料等部件,以確保閥門的完全密封性能。

蝶閥

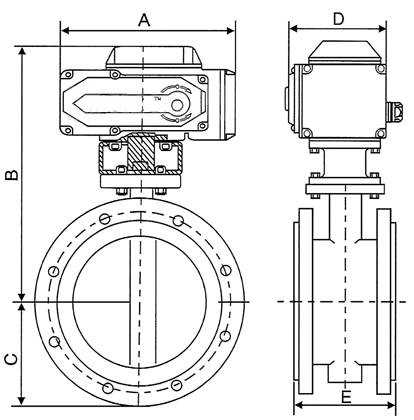
1、D941X電動法蘭式蝶閥結構設計的主要依據國家相關標準規定設計。

2、D941X電動法蘭式蝶閥所采用的通用做法和標準構件圖集。

3、如有特殊D941X電動法蘭式蝶閥構件需作結構性能檢驗時,應指出檢驗的方法與要求。

4、D941X電動法蘭式蝶閥主要根據剖面、長度、高度、外形等作出說明。

5、D941X電動法蘭式蝶閥所選用結構材料的品種、規格、性能及相應的產品標準。

d941X-16c電動蝶閥的型號意義及結構詳細圖解

D941X電動法蘭式蝶閥結構主要是給安裝單位提供具有更好的了解該D941X電動法蘭式蝶閥的外形結構、使用時考慮到工況、環境等因數在應用中有著更合理的計劃規范,不會在安裝時產生空間使用不合理等常見問題。本結構圖所屬上海凱利科閥門有限公司提供,并提供相關外形尺寸,在應用中可以作為參考。


本文標題:d941X-16c電動蝶閥的型號意義及結構詳細圖解 本文地址:http://m.mini361.com/tech-diefa/5277.html

上一篇:法蘭電動蝶閥d941x-10q dn400使用說明書 / 下一篇:蝶閥手動改自動延長桿加多長合適呢